Информация о файле
TDA8362A (TDA8362)
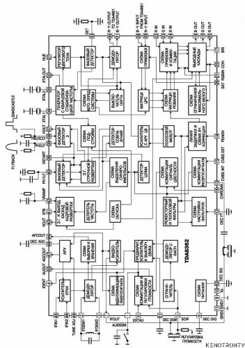
Функциональная схема микросхемы телевизионного мультистандартного процессора.
Общие сведения
Полная интеграция этих функций на одном кристалле реализована с использованием комбинированной технологии на биполярных и МОП транзисторах.
Высокочастотный биполярный процесс используется для узлов обработки видео, например,
ПЧ видео и различных фильтров. МОП процесс используется для всех цифровых каналов.
Благодаря МОП конденсаторам создается возможность интегрировать относительно большие постоянные времени.
Полная мощность рассеяния - 600 мВт при напряжении питания 8 В.
Число дополнительных внешних компонентов значительно меньше, чем в других эквивалентных однокристальных или двухкристальных устройствах.
Для микросхемы TDA8362A (TDA8362) требуется только одна внешняя регулировка, а именно - регулировка несущей ПЧ.
Функциональная схема микросхемы телевизионного мультистандартного процессора TDA8362A
Микросхема содержит многостандартный канал ПЧ (позитивная и негативная модуляция); многостандартный демодулятор ЧМ звука (4,5 МГц -6 МГц);
переключатели видео- и аудиосигналов: (внутренний/внешний, полный телевизионный сигнал, SVHS, аудио - внутренний/внешний); режекторные и полосовые фильтры (интегрированы/ автокалиброваны); линию задержки яркостного сигнала (интегрирована с высокочастотной коррекцией), автокалибровку; многостандартный процессор цвета с автоматическим поиском, контроллер RGB-входов, запирание RGB при изображении дополнительных символов (OSD); строчную синхронизацию (1/2 контура PHI-1, автоматическая регулировка строчного генератора); кадровую схему счета и кадровый предусилитель.
Микросхема TDA8362A (TDA8362) организована в функциональные блоки.
Эти функциональные блоки перечислены ниже с соответствующими выводами (в скобках - для TDA8362):
ПЧ видеовыводы 2-4, 7, 9 (44), 45-49; звуковые выводы 1, 5, 6, 50, 51; кадровая и строчная синхронизация - выводы 36-40, 41(9), 42(41), 43(42), 44(43);
фильтры и переключатели - выводы 12-16; декодер цвета - выводы 27, 30-35;
выход RGB и входная схема- выводы 17-26, 28, 29; питание, развязка - выводы 8, 10, 11, 41(9),
52. Функциональная схема тракта ПЧ видео процессора TDA8362A
Основные функции следующие: усилитель ПЧ; демодулятор; буферный каскад видео; схема АПЧ; схема АРУ; АРУ тюнера; опознавание видеосигнала.
Усилитель ПЧ Усилитель ПЧ имеет симметричные входы и содержит трехкаскадный дифференциальный усилитель, связанный по постоянному току,
с регулируемой обратной связью в эмиттерах транзисторов. Диапазон регулирования усиления усилителя ПЧ - не менее 64 дБ.
Чувствительность по входу для сигналов АРУ-70мВ. Демодулятор Квазисинхронный детектор используется для демодуляции ПЧ сигнала.
Входной сигнал умножается на его собственную несущую частоту, то есть на опорный сигнал, который получается из входного сигнала с использованием усилителя-ограничителя. Сигнал регенерируемой несущей ограничивается схемой привязки, прежде чем поступает в демодулятор.
Это обеспечивает очень хорошую линейность и точную фазу. Переключение с положительной на отрицательную модуляцию выполняется изменением направления тока, поступающего в демодулятор. Фильтр нижних частот на выходе демодулятора подавляет несущую частоту.
Буферный каскад видео
Буферная схема видеосигнала необходима для обеспечения низкого выходного сопротивления и для защиты этого выхода при появлении шумовых выбросов. Буферная схема видеосигнала содержит также инвертор и каскад усиления (позитивной и негативной модуляции), предназначенный для обеспечения соответствующей амплитуды видеосигнала и уровня постоянной составляющей. Выходной буферный каскад содержит эмиттерный повторитель, выходной импеданс которого при небольшом сигнале обычно составляет 25 Ом. Внутренний ток смещения 1 мА, максимальный ток источника 15 мА.
Кроме того, имеется шумовой детектор для сдерживания системы PHI-1 при появлении выброса шумов.
Ширина полосы пропускания буферного видеокаскада - 9 МГц.
Такая полоса подходит для всех стандартов. Амплитуда выходного видеосигнала приблизительно 2,5 В
(максимальный размах) независимо от напряжения питания.
Предотвращая выброс шумов в видеосигнале на выходе, инвертор белого преобразует ультра белое пятно на экране
(например, при появлении сигнала помех) до уровня, равного среднему серому (3,7 В).
Пороговое напряжение инвертора белого пятна около 4,8 В.
Фиксация шума предотвращает понижение выходного видеосигнала до уровня меньшего 1,3 В (максимальная амплитуда синхросигнала 2В).
При сильном сигнале выброс шума инвертируется в уровень черного.
Схема АПЧ Схема АПЧ содержит демодулятор, в который поступают сигналы, разнесенные по фазе на 90°.
Благодаря очень точно реализованной внутренне схеме сдвига фазы на 90° имеется возможность использовать настроенную схему регенератора ПЧ демодулятора также для настройки АПЧ. Это означает, что необходима только одна настройка схемы.
Кроме того, для предотвращения появления видеосигнала на выходе АПЧ используется схема S.H.
Выходной сигнал демодулятора дискретизируется в течение строба S.H. и запоминается на внутреннем конденсаторе.
Строб S.H. АПЧ зависит от выбранного режима.
Сигнал цветовой синхронизации (вспышки) - это сигнал внутренней синхронизации в тракте синхросигнала,
синхронизация ПЧ-сигнал внутренней синхронизации в части ПЧ. Ниже приведены данные стробимпульсов S.H. АПЧ для разных режимов.
Данные стробимпульсов для различных режимов
Для позитивной модуляции и внешнего видеосигнала сигнал АПЧ не стробируется.
Это означает, что схема ведет себя как фильтр нижних частот.
Напряжение стробимпульса S.H. усиливается и появляется в виде тока на аналоговом выводе АПЧ.
Два внутренних резистора по 120 кОм соединены с общим проводом, и сигнал Vcc на этом выходе определяет напряжение АПЧ.
Крутизна АПЧ может быть уменьшена с коэффициентом 4 внутренними резисторами без уменьшения размаха напряжения.
Полярность АПЧ отрицательна, что означает низкое выходное напряжение АПЧ в том случае, когда частота ПЧ слишком высокая.
Схема АРУ Система АРУ управляет работой усилителя ПЧ так, что амплитуда выходного видеосигнала сохраняется постоянной.
Схема превращает напряжение на конденсаторе АРУ в токи, которые управляют тремя внутренними усилителями ПЧ.
Для слабых сигналов напряжение АРУ минимально, а усиление максимально.
Схема АРУ - это детектор верхушки синхросигнала для негативно модулированных сигналов
и детектор верхнего уровня белого для позитивно модулированных сигналов.
Для получения оптимальной характеристики токи нагрузки и холостые токи АРУ выбраны так,
что обеспечивается работа в режимах быстрого и медленного изменения амплитуды видеосигнала
при позитивной и негативной модуляции сигналов с одним конденсатором АРУ.
Для лучшей работы АРУ при наличии шумовых сигналов в случае негативной модуляции АРУ стробировано с информацией синхросигнала.
Для ускорения работы АРУ введены дополнительные цепи, которые представляют собой детектор перегрузки и схему ускорения SECAM-L.
Последняя цепь функционирует только при позитивной модуляции. Так как АРУ - это детектор верхнего уровня белого для позитивных сигналов, необходим импульс со 100% уровнем белого с длительностью по крайней мере 10 мкс в каждый период поля. Обычно такой импульс содержится в строках 17 и 330. Максимальная скорость изменения напряжения на конденсаторе АРУ для кадра определяется его емкостью, крутизной АРУ и небольшим током разряда в этом режиме.
Ниже приведены токи АРУ.
Значения токов АРУ
Схема ускорения SECAM-L необходима в случае позитивной модуляции и резкого уменьшения входного уровня ПЧ сигнала.
Схема ускорения измеряет амплитуду видеосигнала на выходе и реагирует приблизительно через 100 мс, если параметры сигнала постоянно ниже 80% уровня белого.
При включении схемы ускорения конденсатор АРУ разряжается током 50 мА. АРУ селектора каналов
Схема АРУ селектора каналов предназначена для уменьшения усиления тюнера, когда амплитуда входного сигнала становится слишком высокой.
АРУ тюнера действует, когда входной сигнал ПЧ достигает определенного уровня.
Порог срабатывания АРУ может быть отрегулирован внешним управляющим напряжением на выводе 49.
Полный диапазон управления АРУ - 0,5 В. Вывод 47 (выход АРУ тюнера) - выход с открытым коллектором.
Максимальное допустимое напряжение на этом выводе - порядка Vcc + 1 В.
Размах сигнала на выходе - не менее 5 мА, максимальный ток ограничивается приблизительной величиной 12 мА.
Опознавание видеосигнала Функция опознавания (идентификации) должна быть независимой от синхросигнала при установке полного разъема SCART.
Поэтому часть микросхемы TDA8362A от антенного входа до экрана должна иметь функцию отключения звука.
Схема идентификации гарантирует, кроме того, стабильную синхронизацию для отображения на экране, если отсутствует вход ПЧ.
Схема идентификации полностью интегрирована с выходным сигналом идентификации на выводе 4.
Схема идентификации видеосигнала измеряет основную частоту входного сигнала, которая должна быть 16 кГц.
В результате получается сигнал идентификации - IFIDENT (идентификация ПЧ). IFIDENT поступает в логический блок идентификации.
Выходной сигнал этого блока становится сигналом IDENT на выводе 4.
Вывод идентификации имеет двойную функцию, обеспечивая также передачу информации о выбранной цветовой поднесущей - ниже.
Сигналы на выходе идентификации Канал звукового сопровождения
Функциональная схема тракта ПЧ звука процессора TDA8362A
Основные функции следующие: ограничитель; демодулятор; предварительный усилитель и отключение звука; переключатель аудиосигнала;
усилитель, регулирующий громкость. Ограничитель Сигнал звуковой несущей подается через внешний полосовой фильтр на вход ограничителя.
Минимальная амплитуда входного сигнала для ограничения 1 мВ (среднеквадратичное значение).
Демодулятор
Демодуляция достигается широкодиапазонным ЧМ-демодулятором с фазовой автоподстройкой частоты.
Преимущество этого варианта состоит в том, что благодаря автоматической настройке не требуется никакой внешней регулировки.
Фазовая автоподстройка частоты оптимизирована для низкого отношения S/N (сигнала к шуму) при еще приемлемом потреблении мощности.
Минимальный диапазон захвата - 4,2-6,8 МГц, что допустимо для всех многостандартных телевизионных аппаратов.
Предварительный усилитель и функция отключения звука
Предварительный усилитель с обратной связью по постоянному току производит коррекцию предыскажений сигнала.
Выходной сигнал предварительного усилителя может использоваться для разъема SCART и подается на вывод деэмфазиса.
С этим выводом должен соединяться конденсатор коррекции предыскажений.
Функция отключения звука достигается переключением внутреннего аудиосигнала на опорное постоянное напряжение 3 В.
Переключатель аудиосигнала
Для обеспечения полной функции SCART имеется переключатель аудио.
В зависимости от положения переключателя (внутренняя/внешняя),
определяемого сигналом на выводе сигнала цветности 16, может быть выбран один из аудиосигналов.
При выборе позитивной модуляции (принудительное соединение вывода деэмфазиса с Vcc) выбирается также внешний вход аудио.
Усилитель, регулирующий громкость
Выходной усилитель аудиосигнала имеет активную регулировку громкости и для внутренних, и для внешних аудиосигналов. Номинальное усиление 12 дБ, диапазон регулировки 80 дБ. Громкость может изменяться напряжением постоянного тока на входе несущей звука.
Через фильтр нижних частот (для режекции несущей звука) и логарифмический усилитель сигнал управления громкостью подается на регулируемый усилитель.
Цепи строчной и кадровой синхронизации
Функциональная схема трактов кадровой и строчной синхронизации процессора TDA8362A
Основные функции:
разделитель строчных синхроимпульсов; генератор строчных импульсов; калибратор; детектор PHI-1;
детектор PHI-2 и генератор двухуровневых импульсов;
выход строчных импульсов; детектор совпадений; детектор шума; разделитель кадровых синхроимпульсов; система деления;
генератор кадровых пилообразных импульсов; кадровый предварительный усилитель; схема запуска.
Разделитель строчных синхроимпульсов Через входные переключатели видеосигнал поступает в генератор строчных синхроимпульсов.
Разделитель синхроимпульсов обеспечивает ограничение по минимуму и максиму в середине синхроимпульса,
где уровень ограничения не зависит от амплитуды последнего.
Это обеспечивает оптимальные выходные сигналы для стабильного строчного и кадрового отклонения.
Верхний уровень синхросигнала фиксируется на входе полного телевизионного сигнала, уровень черного запоминается внутри микросхемы.
Выходной сигнал разделителя синхроимпульсов подается в детектор PHI-1 и детектор совпадений.
Генератор строчных импульсов
Для строчного генератора не требуются внешние компоненты.
Номинальная частота автоматически устанавливается калибратором, который описывается ниже.
Генератор работает, если на стартовый вывод подается 8 В (при +60% номинальной частоты перед началом калибровки).
Управляемый ток попеременно заряжает и разряжает внутренний конденсатор.
В результате получается симметричный пилообразный сигнал, который используется для определения некоторых других сигналов стробирования и синхронизации. В зависимости от различных условий частота генератора будет изменяться.
Калибратор Калибратор служит для автоматической настройки строчного генератора на номинальную частоту.
В качестве опорной частоты используется частота поднесущей (кварцевый резонатор).
После калибровки УАП генерирует управляющий ток, который регулирует строчный генератор: в течение старта (после четырех кадровых импульсов);
при пробое; когда нарушается синхронизация с входным видеосигналом. Калибровка происходит в период кадрового обратного хода.
В зависимости от некоторых условий частота генератора и, следовательно, кадровая частота на выходе будут меняться.
Детектор РНИ Система PHI-1 необходима для синхронизации генератора строчных импульсов с входным видеосигналом.
Опорный сигнал из строчного генератора сравнивается с синхроимпульсами Hsync из разделителя строчных синхроимпульсов.
В результате выходной ток системы PHI-1 на выводе 40 будет соответственно минусовым или плюсовым в течение первого и второго периода синхроимпульса.
Постоянная времени детектора PHI-1 определяется фильтром нижних частот синхронного детектора, соединенным с выводом 40.
Напряжение, получаемое на выводе 40, управляет генератором так, что синхроимпульс становится симметричным относительно опорного сигнала.
Статическое усиление контура очень высоко, поэтому сдвига фазы при переключении входных сигналов с различной частотой строк не будет.
Для обеспечения быстрого захвата и правильного режима системы синхронизации детектор тока PHI-1 переключают
в зависимости от различных условий на входе: Hsync всегда отключается в течение кадрового обратного хода во избежание так называемой верхней вибрации;
Hsync также отключается в течение импульсов выравнивания.
Это происходит, когда система деления находится в режиме узкого окна, занимающего 15 полей; Hsync отключается при определении шумовых выбросов;
для компенсации скачков фазы, вызванных видеомагнитофоном, выходной ток переключается на максимальный за время прохождения некоторого количества строк в конце кадрового гашения (11,5 строк при 60 Гц и 17 строк при 50 Гц);
постоянная времени при сканировании зависит от детектора совпадения и детектора шума,
обе схемы описаны ниже; при слабом видеосигнале и наличии синхронизации для предотвращения сбоя в работе PHI-1 производится операция «И» над синхроимпульсом и стробимпульсом. Когда сигнал не принимается, частота может сместиться вследствие высокой крутизны детектора PHI-1.
Во избежание дрейфа строчного генератора при отсутствии совпадения выход PHI-1 переводится в состояние высокого сопротивления.
При запуске PHI-1 фильтр нижних частот синхронного детектора быстро предварительно заряжается до опорного напряжения постоянного тока.
Это ускоряет захват. Детектор PHI-2 и генератор двухуровневых импульсов Как описано выше, фильтр нижних частот PHI-1 необходим для синхронизации генератора строчных импульсов с входным видеосигналом. Фильтр PHI-2 необходим для получения правильного фазового соотношения между поступающим видеосигналом и импульсом обратного хода строчной развертки (а следовательно, положения изображения на экране).
Задержка и фазовый сдвиг зависят от времени рассасывания выходного транзистора строчной развертки.
В детекторе PHI-2 сравнивается импульс обратного хода, поступивший из схемы отклонения (вывод 39),
с внутренним опорным сигналом (ключ запуска импульса цветовой синхронизации) из генератора строчной частоты.
В результате внешний конденсатор на выводе 38 будет соответственно заряжаться и разряжаться в течение первой и второй половины периода импульса обратного хода.
Постоянная времени детектора PHI-2 определяется емкостью внешнего конденсатора,
поэтому правильный выбор последней способствует получению оптимальной характеристики.
Постоянный сдвиг фазы (сдвиг изображения влево и вправо) может быть получен подачей тока на вывод конденсатора в PHI-2.
Функция защиты от рентгеновского излучения может активизироваться принудительным повышением напряжения на выводе конденсатора PHI-2 выше 6 В.
В результате прекращается подача импульсов строчной частоты. Для экономии выводов вход обратного хода комбинируется с генератором двухуровневых импульсов (выход сигнала цветовой синхронизации и выход кадрового гашения).
Гашение строки на выходах RGB производится импульсами обратного хода.
Выдача двухуровневых импульсов происходит после выполнения процедуры калибровки.
Выход строчных импульсов Строчный выход - это выход с открытым коллектором.
В зависимости от стартового напряжения или сигнала защиты от повышения допустимого напряжения на втором аноде кинескопа
(защита от рентгеновского излучения) выходной сигнал будет активным или останется высоким для защиты выходного транзистора строчной развертки.
