Перейти к содержанию

2 изображения

Информация о файле

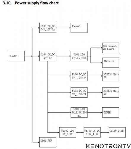
THOMSON T55E11DHU-01В, 50M14DP/55E5500S1 service manual


Обратная связь

Рекомендуемые комментарии

Напишите свой первый подробный комментарий!

Для публикации сообщений создайте учётную запись или авторизуйтесь

Вы должны быть пользователем, чтобы оставить комментарий

Создать аккаунт

Это очень просто!

Регистрация

Войти

Уже есть аккаунт? Войти в систему.

Войти
  • Избранное

    • TELEFUNKEN SM-LED32M04S, No T00210, VerSMV320BJ6, V320BJ6_Q01, USB Firmware Software
      TELEFUNKEN SM-LED32M04S, No T00210, VerSMV320BJ6, V320BJ6_Q01
      348_LED32_-VerSMV320BJ6-V320BJ6_Q01-536D3155CH37_2.0.0.425_DRM
      USB Firmware Software: MstarUpgrade.bin
        • Спасибо
      • 2 ответа
    • QK-VGH/VGL V1.0 — специализированный программатор и регулятор напряжения, для ремонта ЖК/LED панелей
      QK-VGH/VGL V1.0 — специализированный программатор и регулятор напряжения, для ремонта ЖК/LED панелей.
       
      В этой теме:  Можно делиться личным опытом применения программатора, устранения неисправностей, возможностью подключения к различным преобразователям VGH и VGL напряжений.
       
      Основные функции:
      Регулировка напряжений VGH и VGL: Позволяет изменять и настраивать уровни постоянного напряжения (DC) на платах T-Con.
      Модификация параметров PMIC: Поддерживает изменение параметров контроллеров питания (PMIC) на логических платах LCD. 
      Совместим с более чем 90 моделями PMIC.
      Автономная работа: Позволяет проводить «прошивку» и настройку напряжения без подключения к компьютеру (автономный режим).
      Устранение дефектов изображения: Используется для ремонта экранов с горизонтальными полосами, проблемами цветопередачи или 
      отсутствием изображения на одной из сторон панели.
      Детекция напряжений: Может использоваться для мониторинга уровней VGL, VGH, AVDD и VCOM на платах современных 4K телевизоров. 
      Технические особенности:
      Совместимость: Предназначен для работы с платами T-Con и логическими платами современных дисплеев (включая 4K).
      Устойчивость: Рассчитан на профессиональное использование.
        • Отлично!
      • 39 ответов
    • Hisense H43A6100, RSAG7.820.7918/ROH, eMMC dump
      Hisense H43A6100
      Main RSAG7.820.7918/ROH
      Питание RSAG7.820.7748/ROH
      Матрица jhd425s1u51-T0\S0\FM
      EMMC KLM4G1FEPD
      Дамп считан с рабочего тв, состояние жизни еммс было уже 50%. Проверил перепрошивкой точно такого же. Всё рабочее.
       
        • Отлично!
      • 1 ответ
    • USB Firmware Software: 
       1 лот
      RX-32H01FB H198_Russia_P50_352V50_352E_2x512M_8G_PAL_T2_C_SW600ma_InvertOff_dolbyon
      ST3151A08_4_IR_RUSSIA_HI_08F7_8O8W_TitanOS1_HI_9e91f455451_20230829_101738_NO
       2 лот (2024г.)
      H198_Russia_P50_352V50_352E_2x512M_8G_PAL_T2_C_SW600ma_InvertOff_dolbyon
      HV320WHB_F56_IR_RUSSIA_HI_08F7_8O8W_TitanOS1_HI_3a29cdcb017_20231011_202045_NO
        • Отлично!
      • 2 ответа
    • HORIZONT 43LE7912D Шасси (Main Board): TP.MT5510S.PB802
      Прошива  USB Собранна из двух прошивок! Проверенна работает! На выключенном ТВ установить  флэшку в формате  fat32 и Включить тв в сеть. Индикотор замигает мин 5 потов всё ОК! Часть прошивки взята от сюда 
       
        • Спасибо
      • 0 ответов
  • Статистика Загрузок

    9 317
    Файлы
    2 150
    Комментариев
    1 291
    Отзывов
    Последний файл
    Автор Kenotronbot

    1    0

  • Файлы

  • Комментарии к файлу

    • Доступ вам будет открыт по правилам или никак! Смотрите видео и пишите, вспоминайте что было.   Как правильно  оставить отзыв?   https://rutube.ru/video/176314cea0133fdbbac98928d4622c85/?r=plwd @5pektral  Вам необходимо добавить отзыв за ранее скачаный дамп!  
    • LG 42LB671V MainBoard: EAX65384004 (1.5) EMMC: H26M31003GMR Panel: LC420DUH (PG) (F1) висит на лого прогер ENTT
    • Инверсия цветов после прошивки новой памяти  
    • Так же есть смысл посмотреть лог смысл есть, но с холодной головой и без иллюзий. Это не панацея, а инструмент, который либо подтвердит диагноз, либо сэкономит пару лишних телодвижений. Развёрнуто — по порядку, как делали всегда. Какие логи в принципе можно снять в твоей ситуации 1️⃣ UART / Debug log (самый полезный) Если на плате есть пятаки TX / RX / GND (а на MSA3483 они почти всегда есть): Что увидишь: ошибки монтирования userdata E/mmc / I/O error цик
    • Я понял картину... Ситуация типичная, но коварная — из тех, где «вроде живой, а по факту уже не жилец без лопаты и программатора». Разберём по-взрослому, без шаманства. Исходные данные (важно) Модель: KIVI 32HP50GU / 32HR50GU Панель: V320BJ6-Q01 Main: MSA3483-ZC01-01 SoC: MStar / MediaTek (семейство MSA) Память: eMMC под радиатором Симптом: ТВ включается Android загружается Появляется главный экран Далее циклическое увеличение всей
    • после прошивки по USB ничего не изменилось. Насчет  работоспособности  прошивки  ничего  сказать  не могу, т.к. мне не помогла. Буду пробовать перепрошивать eMMC.  Спасибо ВСЕМ. Поломка телевизора - такая: Включается, загружается АНДРОИД, далее появляется главный экран и циклически  идет  УВЕЛИЧЕНИЕ  ВСЕЙ  КАРТИНКИ и так  до  бесконечности.    
    • KIVI 32HR50GU Панель: V320BJ6-Q01 Процессор  под  радиатором eMMC  под  радиатором (на фото  будет видна) серийный  номер  KIVI201004643810 основная  плата  MSA3483-ZC01-01 программатор TNM5000 у меня  сейчас в ремонте  телевизор  KIVI 32HP50GU .  Проблема в том, что  не  могу  зайти в приложения, экран  начинает увеличиваться с названия kivi и так циклически Хочу обновить через флешку USB         
    • Все очень просто... Все согласно правил форума. Чат предназначен исключительно для профессионального общения участников форума, которые реально занимаются ремонтом, а не для обсуждения претензий по скачиванию прошивок. Наличие VIP-статуса не отменяет принципов нашего сообщества. Начинайте работать, активно участвуйте в жизни форума и докажите на деле, что вы мастер, а не случайный гость. Наш ресурс создан мастерами и для мастеров, и мы ценим прежде всего профессиональный вклад в развит
    • @Бачурин Юрий Возникает резонный вопрос: зачем вам прошивка, если у вас в данный момент нет соответствующего телевизора в ремонте? Вы же не Кашпировский, чтобы лечить «грыжу» (или поломку аппарата) на расстоянии! Все файлы представлены  в нашем файлообменнике исключительно в ознакомительных целях и для личного использования. Все Участники, замеченные в разглашении и передаче конфиденциальной информации, будут удалены с форума.
    • @Бачурин Юрий   Наличие VIP-статуса или статуса лояльного участника сообщества на форуме предоставляет вам расширенные лимиты, доступ к закрытым разделам и приоритетную поддержку, однако это не освобождает от соблюдения установленных правил загрузки контента. Если у вас в данный момент нет в ремонте конкретного аппарата, это не является основанием для обхода системы. Важно понимать: VIP-статус не дает права нарушать регламент форума и скачивать прошивки с целью их дальнейшего расп
×
×
  • Создать...